Грильято 75х75 H-40 белый матовый
Подвесной потолок Грильято с размерами ячеек 100x100 мм и высотой профиля 40 мм – это оптимальное решение для создания стильного и функционального интерьера в коммерческих и общественных помещениях.
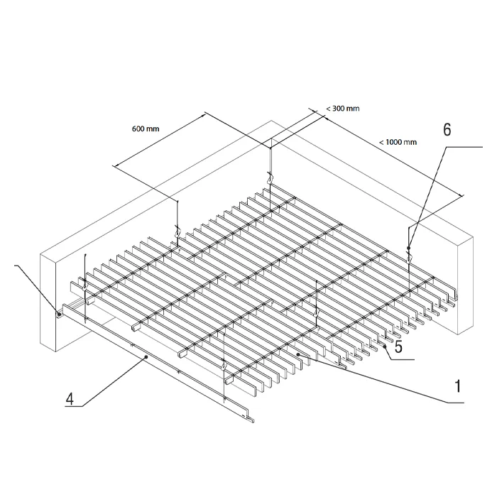
Подвесной потолок Грильято с размерами ячеек 75х75 мм и высотой профиля 40 мм – это оптимальное решение для создания стильного и функционального интерьера в коммерческих и общественных помещениях. Грильято представляет собой модульную подвесную систему из U-образных профилей и декоративных элементов, которая позволяет создавать различные варианты дизайна потолка и обеспечивает доступ к инженерным коммуникациям.
Среди преимуществ подвесного потолка Грильято можно выделить следующие:
- Разнообразие дизайнов: благодаря модульной конструкции, можно создавать потолки различных форм и размеров, а также комбинировать разные цвета и материалы.
- Влагостойкость Грильято изготавливаются из алюминия, что обеспечивает их влагостойкость.
- Пожаробезопасность и долговечность: алюминиевые потолки не горят и не выделяют вредных веществ при нагревании, а также обладают высокой прочностью и долговечностью.
- Простота монтажа и обслуживания: установка подвесного потолка Грильято не требует сложных инструментов и профессиональных навыков. При необходимости, отдельные элементы потолка можно легко заменить или отремонтировать.

| № п/п | Наименование изделия | Марка изделия | Модуль, мм | Ед. изм. |
Расход на 1 м2 |
||||||||
|---|---|---|---|---|---|---|---|---|---|---|---|---|---|
| 30x30* | 50x50 | 60x60 | 75x75 | 86x86 | 100x100 | 120x120 | 150x150 | 200x200 | |||||
| 1 | Решетка | РГ | 600x600 | шт. | 2,78 | 2,78 | 2,78 | 2,78 | 2,78 | 2,78 | 2,78 | 2,78 | 2,78 |
| 2 | Кол-во пластин в решетке | «мама» | 600 | шт. | 19 | 11 | 9 | 7 | 6 | 5 | 4 | 3 | 2 |
| 3 | Кол-во пластин в решетке | «папа» | 600 | шт. | 19 | 11 | 9 | 7 | 6 | 5 | 4 | 3 | 2 |
| 4 | Несущая направляющая | №1 | 2400 | шт. | 0,7 | 0,7 | 0,7 | 0,7 | 0,35 | 0,35 | 0,35 | 0,35 | 0,35 |
| Несущая направляющая | №2 | 1200 | шт. | - | - | - | - | 1,39 | 1,39 | 1,39 | 1,39 | 1,39 | |
| Несущая направляющая | №3 | 600 | шт. | 2,78 | 2,78 | 2,78 | 2,78 | 1,39 | 1,39 | 1,39 | 1,39 | 1,39 | |
| 5 | Соединительный элемент | PG | шт. | 0,7 | 0,7 | 0,7 | 0,7 | 0,05 | 0,35 | 0,35 | 0,35 | 0,35 | |
| 6 | Подвес | АП-Г | комп. | 1,85 | 1,85 | 1,85 | 1,85 | 0,93 | 0,93 | 0,93 | 0,93 | 0,93 | |
| 7 | Уголок | РL-19x24, PLL | м.п. |
по расчету |
|||||||||
Оплата принимается только по счету для юридических лиц.
Выбирите нужны товар и менеджер вам вышлет счет на оплату! Если остались вопросы свяжитесь с менеджером по телефону +7(499)490-66-67
- Самовывоз со склада в городе Москва
- Доставка транспортной компанией — рассчитывается индивидуально для каждого клиента менеджером филиала или по телефону +7(499)490-66-67
Доствка по городу Москва
- Стоимость доставка по городу — Договорная
Доствка по Московской области
Стоимость доставка по области — договорная